Iklan 300x250

42 john deere lx188 carburetor diagram

Service Schedule Parts for a John Deere LX188 Lawn Tractor & Parts List. While your John Deere machine is certainly built with quality parts, they have a limited life. Good news is you can easily service your machine yourself using a John Deere maintenance kit or service kits or by getting the specific John Deere part needed to keep your John Deere mower or tractor running for a long time.

John Deere Parts Lookup -John Deere-LX172, LX173, LX176, LX178, LX186 AND LX188 LAWN TRACTORS

John Deere LX172, LX173, LX176, LX178, LX186, LX188 Lawn Tractors Technical Manual (TM1492) John Deere F710, F725 Front Mowers Technical Manual (TM1493) John Deere 21C, 21S, 25S, 30S, 38B Line Trimmers and Brush Cutters Technical Manual (TM1494)

John deere lx188 carburetor diagram

John deere lx188 carburetor diagram

I put my engine on a 1999 John deere gator and it has run good the LX188-Lawn-Tractor-With-48-IN-Mower-Deck--PC2317 Parts Diagram Belt Drive & Idlers LX176,LX178,LX186 and LX188: POWER TRAIN LX176,LX178 LX188-Lawn-Tractor-With-48-IN-Mower-Deck--PC2317 Parts Diagram Belt Drive & Idlers LX176,LX178,LX186 and LX188: POWER TRAIN LX176,LX178 Best ...

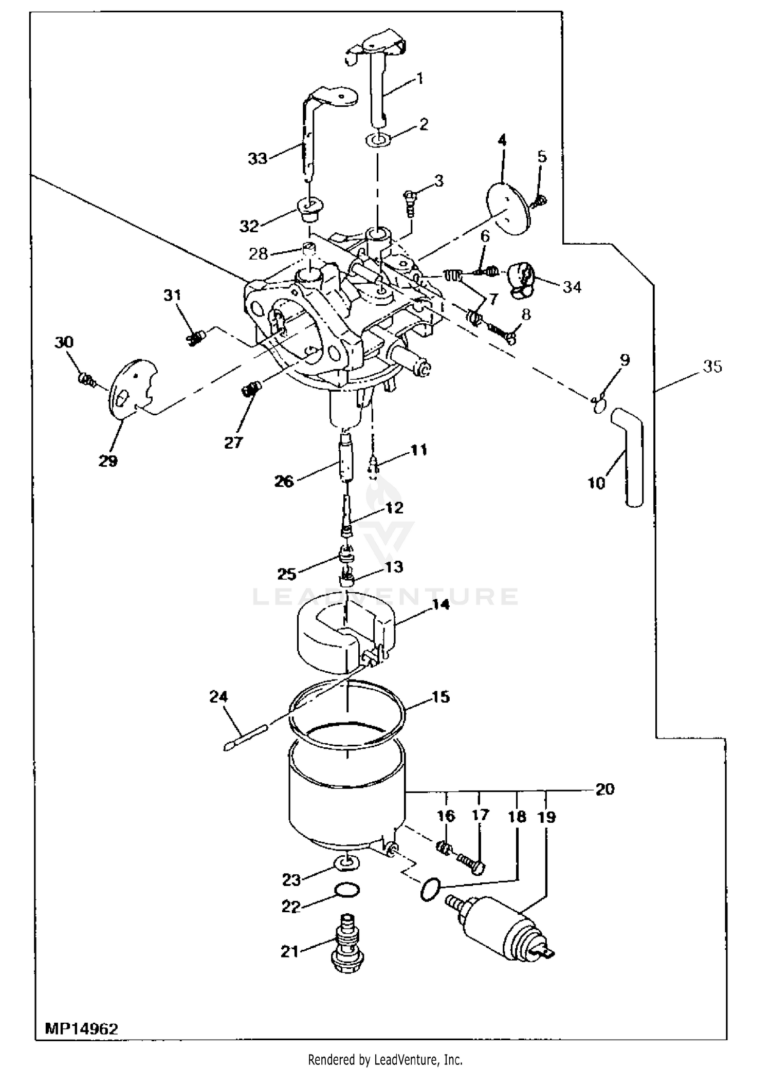
Buy Genuine OEM John Deere parts for your John Deere LX188 Lawn Tractor With 48-IN Mower Deck -PC2317 1992 Model M0L188X040001-070000 LX188 Lawn Tractor With 48-IN Mower Deck -PC2317 1993 Model M0L188X070001-090000 LX188 Lawn Tractor With 48-IN Mower Deck -PC2317 1994 Model M0L188X090001-110000 LX188 Lawn T and ship today! Huge in-stock inventory of OEM John Deere parts.

Read John deere lx178 lawn garden tractor service repair manual by 163757 on Issuu and browse thousands of other publications on our platform. ... CARBURETOR SERIAL NUMBER— LX178 AND LX188 ...

John deere lx188 carburetor diagram.

I have a John Deere lx188 lawn tractor that is giving me fits lately. It started surging at idle and even during mowing when the PTO is engaged. I did some research on this problem and seems common. So I cleaned all the fuel lines and blew compressed air through them. Replaced the fuel filter. Removed the tank, emptied gas and cleaned it out.

This is a series showing the repair of a John Deere LX178 Lawn Tractor. This is the rebuild of the carb and an interesting trouble was found after many carb...

View attachment LX 188 wiriing diagram.bmp View attachment electrical section from Tm1492.pdf ... View attachment LX188 carburetor info from TM1492 manual.pdf ... John Deere 318, 50in deck, 54in blade w/ power angle

John deere lx188 parts diagram. Buy genuine oem john deere parts for your john deere lx188 lawn tractor with 48 in mower deck pc2317 carburetor lx188. The john deere lx188 was produced from 1992 to 1998 with options of 38 44 or 48 mower decks. Search part numbers and diagram s to identify the part you need. Wiring diagram for john deere lx188 ...

John Deere AG, Lawn & Garden and CWP Equipment Parts Search. John Deere parts lookup tool and diagram is an incredible online source. It is a complete catalog that shows you detailed parts diagrams of every part of your machine. This online parts catalog is robust and easy to use. Searching for your John Deere parts online has never been easier.

The John Deere LX188 is a lawn and garden tractor from the John Deere LX100-series. The John Deere LX188 garden tractor was produced at the John Deere Horicon Works plant (Horicon, Wisconsin, USA) from 1992 to 1998. The John Deere LX188 lawn tractor used a V-twin 90° liquid-cooled 4-stroke internal combustion Kawasaki FD501V (437 cc, 26.67 cu-in) gasoline engine with vertical PTO-shaft The ...

The John Deere LX188 was produced from 1992 to 1998 with options of 38", 44", or 48" mower decks. It came equipped with a hydrostatic drive transmission and 17hp Kawasaki Engine. Regular Maintenance should be performed on the LX188 every 50 hours and should include Spark Plug, Air Filter, Oil Filter with 1.8qts oil and sharpen or replace mower ...

John Deere A&I Products Complete High-Back Replacement Seat Assembly - A-AM115813. (8) $109.03. Usually available. Add to Cart. Quick View. John Deere Adapter Fitting - M127432. (1) $3.31.

Description: John Deere D105 Lawn Tractor Parts pertaining to John Deere Lx178 Parts Diagram, image size 410 X 410 px, and to view image details please click the image.. Honestly, we also have been noticed that john deere lx178 parts diagram is being one of the most popular subject at this moment. So we tried to uncover some good john deere lx178 parts diagram image for you.

DEERE LX172 LX173 LX176 LX178 LX186 LX188 LAWN . JOHN DEERE LX172 LX173 LX176 LX178 LX186 LX188 LAWN GARDEN TRACTOR repair manual & service manual is in pdf format so it will work with computers including WIN, MAC etc.You can Easily view, Navigate, print, Zoom in/out as per your requirements. We accept Paypal and All Credit Cards.

Rated 5.00 out of 5 based on 3 customer ratings. ( 3 customer reviews) $ 69.79 $ 49.79. FREE SHIPPING! 4.8. Only 1 left in stock. Carburetor For John Deere LX178 LX186 LX188 LX277 LX279 LX289 quantity. 01234567890123456789. — OR —. 100% MONEY BACK GUARANTEE!

DIY Adjust the Carburetor on a John Deere Riding Mower. On John Deere rear-engine riding mowers, which feature a Kawasaki engine, the carburetor sends the mi...

New Carburetor For JOHN DEERE Replace For Kawasaki AM128355 LX188 LX279  LX178

New carburetor for john deere replace for kawasaki am128355 lx188 lx279 lx178

John Deere LX188 Exploded View parts lookup by model. Complete exploded views of all the major manufacturers. It is EASY and FREE

John Deere Genuine OEM Kawasaki Carburetor AM128355 For: LX188 LX279 LX289  | eBay

John deere genuine oem kawasaki carburetor am128355 for: lx188 lx279 lx289 | ebay

Lawn Tractors published in 1991, by John Deere: Walk-Behind - Riders - Lawn Tractors - Residential Front Mowers published in 1996, by John Deere: Lawn Tractors published in 1993, by John Deere: Operator's Manual LX172, LX176, LX178, and LX188 (OMM120367) published in 1993, by John Deere

John Deere carbuetor removal

John deere carbuetor removal

Operator's Manual LX172, LX173, LX176, LX178, and LX188 (OMM134134) published in 1997, by John Deere Lawn & Grounds Care Sales Manual published in 1997, by John Deere Operator's Manual Grass Bagger or RX, SX, SRX, and GX Riding Mowers and LX Lawn Tractors (OMM115491) published in 1991, by John Deere

John Deere LX188 Lawn Tractor With 44-IN Mower Deck -PC2317 ...

John deere lx188 lawn tractor with 44-in mower deck -pc2317 ...

Due to the employee strike at John Deere, we are not receiving estimated in stock dates for all parts and equipment. John Deere PARTS LOOKUP John Deere Parts Diagrams, John Deere LX172, LX173, LX176, LX178, LX186 AND LX188 LAWN TRACTORS

Amazon.com: John Deere Carburetor Kawasaki LX188 LX279 LX289 ...

Amazon.com: john deere carburetor kawasaki lx188 lx279 lx289 ...

Starter - 12 volt, 9 tooth, counter clockwise rotation. For tractor models LX178 from 1991 on, LX188 from 1992 on, 285 from 1987-92, 345 from 1995 on all with Kawasaki engines, 2243 from 1990 on with FD590V engine.

AM128355 - Carburetor fits John Deere | AFTERMARKET.SUPPLY

Am128355 - carburetor fits john deere | aftermarket.supply

This is a Kawasaki Carburetor for John Deere tractors, part number AM128355. (number on carb is 32693) It fits model LX188, LX279 and LX289 John Deere Tractors. We have included the 2 mounting gaskets.

John Deere LX188 Lawn Tractor Without Mower Deck -PC2317 1994 ...

John deere lx188 lawn tractor without mower deck -pc2317 1994 ...

I looked on the message board and didn't see anything similar. I just purchased a used John Deere LX178 which hasn't been run for a year. It starts and runs on full throttle but not when I turn down the idle. I tried loosening the screen at the bottom of the carb bowl but it started leaking gas so I retightened it. I assume the carb needs cleaning.

John Deere LX172, LX173, LX176, LX178, LX186, LX188 Lawn ...

John deere lx172, lx173, lx176, lx178, lx186, lx188 lawn ...

I have just bought a John Deere LX188 with a liquid cooled Kawasaki 17hp. Runs good for around 20 minutes then it starts to lose power. I feel like the carburator needs to be cleaned but also have heard that the electronic solinoid needle that is in the float could be bad.

Replacement Carburetor for John Deere Lawn Mowers AM128355 LX188 LX279 LX289

Replacement carburetor for john deere lawn mowers am128355 lx188 lx279 lx289

John Deere Model LX188 Left Hand Hood Stripe Decal - M116263. (0) $18.03. Usually available. Add to Cart. Quick View. John Deere Model LX188 Right Hand Hood Stripe Decal - M116262. (0) $30.07.

Carburetor For John Deere LX178 LX186 LX188 LX277 LX279 LX289 ...

Carburetor for john deere lx178 lx186 lx188 lx277 lx279 lx289 ...

John Deere Parts Lookup -John Deere-LX188 Lawn Tractor Without Mower Deck -PC2317 1994 Model M0L188B090001-110000 LX188 Lawn Tractor Without Mower Deck -PC2317 1995 Model M0L188B110001-130000 LX188 Lawn Tractor Without Mower Deck -PC2317 1996 Model M0L188B130001-160000 LX188 Lawn Tractor Wi

LX178 Carburetor surging problem | Green Tractor Talk

Lx178 carburetor surging problem | green tractor talk

John Deere LX188 Lawn and Garden Tractor Service Manual John Deere LX188 Lawn and Garden Tractor Technical Manual TM1492 660 Pages in .pdf format 41.0 MB in .zip format for super fast downloads! This factory John Deere Service Manual Download will give you complete step-by-step information on repair, servicing, and preventative maintenance for your John … Continue reading "John Deere LX188 ...

Carbpro AM128355 Carburetor Carb Replacement with Gasket Kits ...

Carbpro am128355 carburetor carb replacement with gasket kits ...

Carburetor with Gasket For Kawasaki Mikuni JOHN DEERE AM128355 LX188 LX279  LX289

Carburetor with gasket for kawasaki mikuni john deere am128355 lx188 lx279 lx289

John Deere LX188 Lawn Tractor Without Mower Deck -PC2317 1994 ...

John deere lx188 lawn tractor without mower deck -pc2317 1994 ...

John Deere carbuetor installation

John deere carbuetor installation

LX188 question | Green Tractor Talk

Lx188 question | green tractor talk

LX277 LX279 LX289 Carburetor For John Deere LX178 LX186 LX188 2718  FD501V-BS00 | eBay

Lx277 lx279 lx289 carburetor for john deere lx178 lx186 lx188 2718 fd501v-bs00 | ebay

Leaky Fuel Pump Fix - John Deere LX178 - Kawasaki Twin

Leaky fuel pump fix - john deere lx178 - kawasaki twin

John Deere LX188 Lawn Tractor Without Mower Deck -PC2317 1994 ...

John deere lx188 lawn tractor without mower deck -pc2317 1994 ...

Carburetor For John Deere LX178 LX186 LX188 LX277 LX279 LX289 ...

Carburetor for john deere lx178 lx186 lx188 lx277 lx279 lx289 ...

I have a Kawasaki v-twin FD501v 17hp Deere LX188 with new ...

I have a kawasaki v-twin fd501v 17hp deere lx188 with new ...

John Deere LX188 Lawn Tractor Without Mower Deck -PC2317 1994 ...

John deere lx188 lawn tractor without mower deck -pc2317 1994 ...

Buy ALL-CARB Carburetor Replacement for John Deere 2317 2718 ...

Buy all-carb carburetor replacement for john deere 2317 2718 ...

LX188 question | Green Tractor Talk

Lx188 question | green tractor talk

LX188 continued troubleshooting | My Tractor Forum

Lx188 continued troubleshooting | my tractor forum

John Deere LX188 Lawn Tractor Without Mower Deck -PC2317 1994 ...

John deere lx188 lawn tractor without mower deck -pc2317 1994 ...

Carburetor Carb for John Deere Kawasaki Mikuni AM128355 LX188 LX279 LX289

Carburetor carb for john deere kawasaki mikuni am128355 lx188 lx279 lx289

Details about Carburetor For JOHN DEERE LX172 LX173 LX176 LX178 LX186 and  LX188 Lawn Tractors

Details about carburetor for john deere lx172 lx173 lx176 lx178 lx186 and lx188 lawn tractors

John Deere LX172 Lawn Tractor With 38-IN Mower Deck -PC2317 ...

John deere lx172 lawn tractor with 38-in mower deck -pc2317 ...

John Deere LX188 Lawn Tractor With 44-IN Mower Deck -PC2317 ...

John deere lx188 lawn tractor with 44-in mower deck -pc2317 ...

Need some help with an X520 carb | My Tractor Forum

Need some help with an x520 carb | my tractor forum

Replacement Carburetor for John Deere Lawn Mowers AM128355 LX188 LX279 LX289

Replacement carburetor for john deere lawn mowers am128355 lx188 lx279 lx289

John Deere LX172, LX173, LX176, LX178, LX186, LX188 Lawn Tractors TM1492  Technical Manual PDF

John deere lx172, lx173, lx176, lx178, lx186, lx188 lawn tractors tm1492 technical manual pdf

JD LX172 LX173 LX176 LX178 LX186 LX188 Technical Manual Lawn ...

Jd lx172 lx173 lx176 lx178 lx186 lx188 technical manual lawn ...

John Deere LX188 Lawn Tractor With 44-IN Mower Deck -PC2317 ...

John deere lx188 lawn tractor with 44-in mower deck -pc2317 ...

JOHN DEERE LX172 LAWN GARDEN TRACTOR Service Repair Manual by ...

John deere lx172 lawn garden tractor service repair manual by ...

New Carburetor Carb for John Deere Kawasaki Mikuni AM128355 LX188 LX279  LX289

New carburetor carb for john deere kawasaki mikuni am128355 lx188 lx279 lx289

Mower Carburetor Carb for John Deere Kawasaki Mikuni AM128355 LX188 LX279  LX289

Mower carburetor carb for john deere kawasaki mikuni am128355 lx188 lx279 lx289

Carburetor Rebuild Set Kit For John Deere LX172 173 LX176 LX178 LX186 LX188  LX277 Power Equipment Accessories Lawnmower Parts

Carburetor rebuild set kit for john deere lx172 173 lx176 lx178 lx186 lx188 lx277 power equipment accessories lawnmower parts

John Deere LX172 Lawn Tractor Without Mower Deck -PC2317 1994 ...

John deere lx172 lawn tractor without mower deck -pc2317 1994 ...

John Deere LX188 Lawn Tractor With 44-IN Mower Deck -PC2317 ...

John deere lx188 lawn tractor with 44-in mower deck -pc2317 ...

0 Response to "42 john deere lx188 carburetor diagram"

Post a Comment

Iklan Atas Artikel

Iklan Tengah Artikel 1

Iklan Tengah Artikel 2

Iklan Bawah Artikel