Iklan 300x250

38 john deere 210 parts diagram

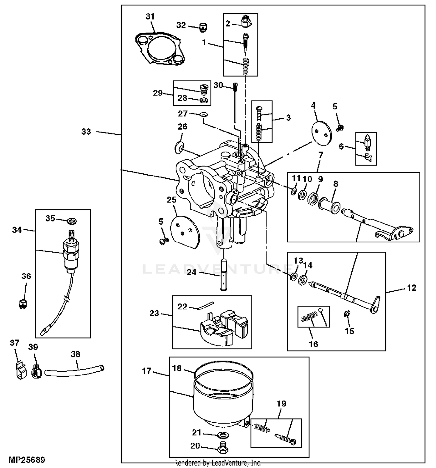
Some of the John Deere Backhoe parts we sell include Attachments, Axles, Booms and Sticks, Brakes, Cabs, Engines, Hydraulic Cylinders, Hydraulic Pumps, Stabilizers, Transmissions, Wheels, Other and more. Your #1 source for quality replacement parts New Parts Why spend top dollar on a new part? Save with AMS! Description: 210 Won't Start – Yesterday's Tractors throughout John Deere 210 Parts Diagram, image size 990 X 565 px, and to view image details please click the image.. Here is a picture gallery about john deere 210 parts diagram complete with the description of the image, please find the image you need.

John Deere 210 212 214 Wiring Harness S/N -70000 (Parts Or Repair) AM35101 Parts Only C $37.36 Top Rated Seller Buy It Now +C $26.40 shipping estimate from United States John Deere 200 208 210 212 214 216 110 112 Steering Gear Column PARTS ONLY Parts Only C $56.04 Top Rated Seller Buy It Now +C $21.79 shipping estimate from United States

John deere 210 parts diagram

John deere 210 parts diagram

wiring-diagram-john-deere-210-212-214-216-garden-tractor (375KB) One more tip: To Change Drive Belt Jack up the right side of tractor Take off the right rear tire Lift the front pully up and hold in place with a pry bar Remove pully by removing the three bolts You can now install or adjust the belt When done, replace pully and wheel by Where I Go John Deere Parts Lookup -John Deere-210 TRACTOR -PC1473 Our John Deere lawn and garden tractor parts include fuel hoses, outlet kits, fuses, tire chains, wheel and suitcase weights, front blades, snow blowers, air filters, thatcher extensions, and much, much more.

John deere 210 parts diagram. John Deere Tractors - Parts & Manuals. Below are listed all of the John Deere tractor parts, manuals and informative features available on our site. Simply click on any of the JD tractors links below to further explore our offerings. Allis Chalmers. Avery. John Deere 210 Garden Tractor featured with a 4×2 2WD chassis, 10HP Kohler 390cc 1-cyl gasoline engine, Four-speed gear transmission with mechanical variable drive, 13.2L fuel tank, and 660 lbs weight. John Deere 210 Garden Tractor attachments include a 38″ mid-mount mower deck and 46″ mid-mount mower deck. Stihl MS 210 Chainbsaw (MS210C) Parts Diagram Select a page from the Stihl MS 210 Chainbsaw diagram to view the parts list and exploded view diagram. All parts that fit a MS 210 Chainbsaw Pages in this diagram The model serial number of a John Deere riding mower is printed on an identification tag located below the operator’s seat or on the back of the lower frame between the rear wheels. The serial number (PIN) is 13 or 17 digits long. Find your John Deere – Aftermarket riding mower parts. What do John Deere tractor model numbers mean?

Our John Deere lawn and garden tractor parts include fuel hoses, outlet kits, fuses, tire chains, wheel and suitcase weights, front blades, snow blowers, air filters, thatcher extensions, and much, much more. John Deere Parts Lookup -John Deere-210 TRACTOR -PC1473 wiring-diagram-john-deere-210-212-214-216-garden-tractor (375KB) One more tip: To Change Drive Belt Jack up the right side of tractor Take off the right rear tire Lift the front pully up and hold in place with a pry bar Remove pully by removing the three bolts You can now install or adjust the belt When done, replace pully and wheel by Where I Go

GANG BOLTS AND DISKS 185 MM (7-1/4

GANG BOLTS AND DISKS 185 MM (7-1/4") SPACING [B05] - DISK ...

John Deere 1200 Bunker and Field Rake TM1525 Technical Manual PDF

John Deere 1200 Bunker and Field Rake TM1525 Technical Manual PDF

TractorData.com John Deere 210 tractor information

TractorData.com John Deere 210 tractor information

Shindaiwa 40RS Spreader Parts Diagrams Online | Lawnmower Pros

Shindaiwa 40RS Spreader Parts Diagrams Online | Lawnmower Pros

John Deere 43 FRONT BLADE (110, 112, 200, 208, 210, 212, 214 ...

John Deere 43 FRONT BLADE (110, 112, 200, 208, 210, 212, 214 ...

John Deere 200, 208, 210, 212, 214, 216 Lawn and Garden ...

John Deere 200, 208, 210, 212, 214, 216 Lawn and Garden ...

John Deere 46-IN MID-MOUNT ROTARY MOWER (210, 212, 214 & 216 ...

John Deere 46-IN MID-MOUNT ROTARY MOWER (210, 212, 214 & 216 ...

John Deere 43 FRONT BLADE (110, 112, 200, 208, 210, 212, 214 ...

John Deere 43 FRONT BLADE (110, 112, 200, 208, 210, 212, 214 ...

ECHO TC-210 Parts Diagram SN E13912001001-E13912999999

ECHO TC-210 Parts Diagram SN E13912001001-E13912999999

John Deere

John Deere

John Deere LTR155 Lawn Tractors 1999 Model (SN M0L155R010001 ...

John Deere LTR155 Lawn Tractors 1999 Model (SN M0L155R010001 ...

John Deere 210 410 Corn Head Parts Manual (210 Corn Head ...

John Deere 210 410 Corn Head Parts Manual (210 Corn Head ...

John Deere Parts Lookup -210 TRACTOR -PC1473

John Deere Parts Lookup -210 TRACTOR -PC1473

John Deere 210 TRACTOR -PC1473 FRONT AXLE,TIE ROD & DRAG LINK ...

John Deere 210 TRACTOR -PC1473 FRONT AXLE,TIE ROD & DRAG LINK ...

John Deere 210 Price, Specs, Reviews & Attachments 2021

John Deere 210 Price, Specs, Reviews & Attachments 2021

John Deere 200 210 212 214 Repair Technical Manual [Lawn ...

John Deere 200 210 212 214 Repair Technical Manual [Lawn ...

John Deere 208 Lawn Garden Tractor Parts Catalog Manual Book ...

John Deere 208 Lawn Garden Tractor Parts Catalog Manual Book ...

John Deere 446 and 546 Round Balers Parts Catalog (PC2524 ...

John Deere 446 and 546 Round Balers Parts Catalog (PC2524 ...

Pin on John Deere Parts Catalogs Manuals

Pin on John Deere Parts Catalogs Manuals

John Deere Drive Belt - TCU12829

John Deere Drive Belt - TCU12829

Parts Manual For John Deere 350C Crawler Tractor Loader Bulldozer Jd350C  Catalog

Parts Manual For John Deere 350C Crawler Tractor Loader Bulldozer Jd350C Catalog

Stuck PTO on 210... | My Tractor Forum

Stuck PTO on 210... | My Tractor Forum

John Deere LA145, LA155, LA165 Deck Parts

John Deere LA145, LA155, LA165 Deck Parts

John Deere Parts - Bombergers

John Deere Parts - Bombergers

John Deere 210 off-set disk in Winterset, IA | Item BZ9846 ...

John Deere 210 off-set disk in Winterset, IA | Item BZ9846 ...

Oil Line AW33888 - Deere | AVSpare.com

Oil Line AW33888 - Deere | AVSpare.com

John Deere 200, 210, 212, 214 Lawn Garden Tractors Service ...

John Deere 200, 210, 212, 214 Lawn Garden Tractors Service ...

John Deere 210 TRACTOR -PC1473 HYDRAULIC LIFT CYLINDER ...

John Deere 210 TRACTOR -PC1473 HYDRAULIC LIFT CYLINDER ...

210LE - LOADER Instrument Panel Gauges and Switches (880054 ...

210LE - LOADER Instrument Panel Gauges and Switches (880054 ...

John Deere Parts Diagram & Parts Search • John Deere Parts ...

John Deere Parts Diagram & Parts Search • John Deere Parts ...

TY7176 Hydraulic Cylinder - ty7176 - John Deere spare part ...

TY7176 Hydraulic Cylinder - ty7176 - John Deere spare part ...

John Deere 200, 208, 210, 212, 214, 216 Lawn & Garden Tractors SM2105  Service Manual PDF

John Deere 200, 208, 210, 212, 214, 216 Lawn & Garden Tractors SM2105 Service Manual PDF

Echo ES-210 S/N: 07001001 - 07999999 Parts Diagram for Blower ...

Echo ES-210 S/N: 07001001 - 07999999 Parts Diagram for Blower ...

Just Got a 210 for free... but I need to put on the deck | My ...

Just Got a 210 for free... but I need to put on the deck | My ...

Details about John Deere 210 & 310 Auger Wagon Parts Catalog Manual  Original! JD 11/77

Details about John Deere 210 & 310 Auger Wagon Parts Catalog Manual Original! JD 11/77

John Deere 210 for parts or restore - $120 (Cape Carteret ...

John Deere 210 for parts or restore - $120 (Cape Carteret ...

Amazon.com: For John Deere Excavator 210 Muffler 4416602 ...

Amazon.com: For John Deere Excavator 210 Muffler 4416602 ...

200 - TRACTOR, LAWN AND GARDEN ENGINE SIDE PANELS [A17] EPC ...

200 - TRACTOR, LAWN AND GARDEN ENGINE SIDE PANELS [A17] EPC ...

0 Response to "38 john deere 210 parts diagram"

Post a Comment

Iklan Atas Artikel

Iklan Tengah Artikel 1

Iklan Tengah Artikel 2

Iklan Bawah Artikel